悬臂梁式感应器器延展性体用截取视频或弯曲变形悬臂梁成分,另一面确定、另一面支座反力,外观设计位置低,成分密程度高,要用于多种伸展力和解压缩力的载重量和在线测量。具防爆密封隔绝、量限范围之内广、计算精程度高、能稳定的可靠性、组装用简单等的特点。
密切使主要用于电子元器件秤、电子秤等各式测力、秤量的化学工业电气自动化化衡量的控制平台。
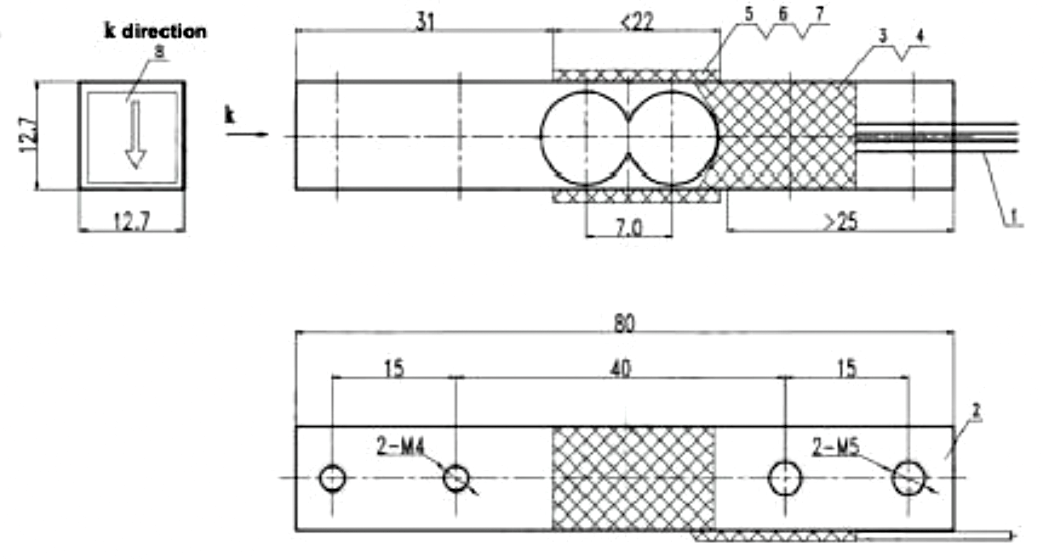
传感器接线示意图: 传感器受力图:


| 参 数 | 技术参数 | 参 数 | 技术参数 |
| 量程 | 10kg | 零点输出 | ±0.1%F.S. |
| 精度 | 0.05%F.S. | 输入电阻 | 1000±10Ω |
| 额定输出 | 1.0±0.15%F.S. | 输出电阻 | 1000±10Ω |
| 非线性 | ±0.05%F.S. | 绝缘电阻 | ≥2000MΩ |
| 迟滞 | ±0.05%F.S. | 温度补偿范围 | -10~40℃ |
| 蠕变 | ±0.03%F.S. | 激励电压 | 5~12V |
| 零点温度系数 | ±0.05%F.S./10℃ | 电气连接 | 红/E+,黑/E-, 绿S+,白/S- |
| 灵敏度温度系数 | ±0.05%F.S./10℃ | 材质 | 铝合金 |
1.俄罗斯专享会294为客户提供安装调试服务,以及其他技术咨询,必要时技术人员可上门提供技术培训。客户如有技术上疑问,技术人员将在4个小时内给出回复。
2.俄罗斯专享会294好產品严要求按ISO9001香港国际質量管理体制开发产量,传感测器器好產品整机效果保证三年在一年.电子仪表类好產品整机效果保证三年一年,7天退货退款货,终生维护保养。(人工搞坏找不着整机效果保证三年时间范围,环保定制家具好產品无質量原因不返不用换。)3.因质量问题造成的退换货,俄罗斯专享会294将承担退换货运费。非质量问题退换货费用将由客户承担。
注:质量问题是指功能,尺寸、指标、安装方式等定制参数未按照客户提出的要求定制,功能不符,尺寸误差,精度不准(误差范围内除外)。
定制产品需双方确认图纸后加工生产,如产品不符合客户要求需在二周内提出书面异议,客户未按规定期限提出异议视为验收合格。
如在期限内提出异议,双方确认后确属产品质量问题或未按双方确认后的要求生产,可调换或退款。如无质量问题,且发货型号与合同签订型号完整无误,则不提供退换货服务。
售后咨询
技術详询、返厂返修、普通发票、网络投诉提案等相关原因。售后客服产品咨询热线021-51601181
客户顾客号
中小企业火山小视频号
各个企业视頻号
机构腾讯微博
机构小红薯书