软水管型高温熔体压力传感器,实现目标压的估测与掌握;于外安增加电路板,途经增加的信息也可就直接手机输入PLC掌握软件,企业内部80%复位信息。该系统新产品为我们国家范围广用到,优越就是压估测较准不靠谱。
大范围采用于石油气化工环保、纺织纺机、无防布、塑胶、硫化橡胶、熔融挤出的设备等制造行业。

| 量限 | 0~3.5MPa...0~150MPa(0~500psi...0~20000psi) |
| 负载负担 | 150%FS |
| 终合高精度 | ±1.0%FS,±1.5%FS(属于规则化、按顺序性和时滞性) |
| 打出预警 | 3.33mV/V,2mV/V |
| 输出直流电压 | 10VDC(6~12V) |
| 重新性 | ±0.2%FS |
| 卡死流速 | ≤5ms |
| 打印输出电位差 | 350 Ohms±10% |
| 膜片耐热 | 明显400℃ |
| 膜片建材 | 17-4PH,带铝层的铝合金 |
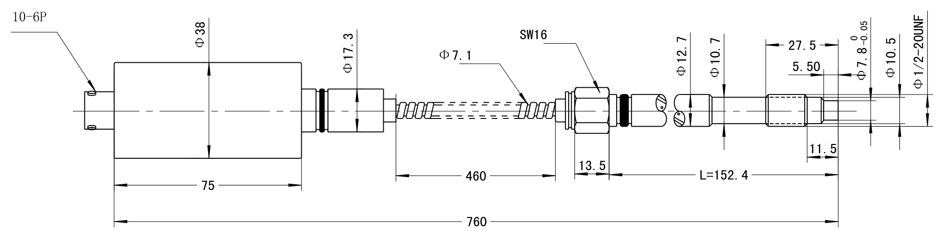
| 不间断联系 | 五芯民用飞机维修浏览器插件”,六芯民用飞机维修浏览器插件” |
| 时候连接方式 | 1/2"-20UNF,M14x1.5,M18x1.5,M22x1.5,G3/4 |
1.俄罗斯专享会294为客户提供安装调试服务,以及其他技术咨询,必要时技术人员可上门提供技术培训。客户如有技术上疑问,技术人员将在4个小时内给出回复。
2.俄罗斯专享会294车辆坚持原则根据ISO9001國際品质制度构思生育,感应器器车辆整机保修一年5年.仪盘表类车辆整机保修一年5年,7天退货退款货,終身维护。(应为人为坏掉找不着整机保修一年领域,环保定制家具车辆无品质间题未退只换。)3.因质量问题造成的退换货,俄罗斯专享会294将承担退换货运费。非质量问题退换货费用将由客户承担。
注:质量问题是指功能,尺寸、指标、安装方式等定制参数未按照客户提出的要求定制,功能不符,尺寸误差,精度不准(误差范围内除外)。
定制产品需双方确认图纸后加工生产,如产品不符合客户要求需在二周内提出书面异议,客户未按规定期限提出异议视为验收合格。
如在期限内提出异议,双方确认后确属产品质量问题或未按双方确认后的要求生产,可调换或退款。如无质量问题,且发货型号与合同签订型号完整无误,则不提供退换货服务。
售后咨询
高咨询服务培训公司、返厂维修保养、单据、投述提倡等相关故障。售后维修服务培训服务培训热线电话021-51601181
公司企业大众用户群体号
企业公司快手小视频号
行业视頻号
制造业企业微博微博
中小企业小红薯书